周末游戏网2025-05-01
近十年来AI和游戏技术飞速发展,游戏公司也在争相申请最疯狂的专利创意。现在索尼的一项新专利,可能将彻底改变我们所知的的游戏开发。

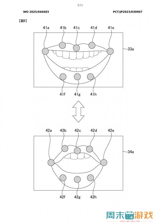
近日索尼公布了一项新专利,其描述了一套面向游戏NPC的次世代唇形同步系统,能轻松实现多语言版本下译制台词与嘴部动作的匹配。
这套系统能评估NPC嘴部动作在所有支持语言中的表现效果,并为开发者生成相似度评分供开发参考。同时还包含自动化修复方案,通过动态调节译制语音时长与角色下颌运动轨迹,精准对齐原始台词时序节奏。
索尼称NPC口型与本地化语音的错位会破坏沉浸感,从而让玩家失望。传统手动调整方式费时费力,而该技术将把开发团队从重复劳动中解放出来。若该技术最终落地应用,可能会显著缩短游戏开发时间。

相关推荐
《拆解模拟器》序章免费发布 体验拆除破坏快感
周末游戏网2025-05-03
奥尔特曼:OpenAI 本周将发布“很多”精彩的产品
周末游戏网2025-05-03
2025 年一季度美国电动汽车销量榜:特斯拉 Model Y / 3 继续领跑,市场整体下滑
周末游戏网2025-05-03
消息称 SK 海力士将今年资本支出计划提升 30%,以应对业界激增的 HBM3E 产品需求
周末游戏网2025-05-03
古尔曼:苹果 iPadOS 19 体验将更像 macOS,聚焦生产力等三大方面升级
周末游戏网2025-05-03